上一篇 下一篇 分享链接 返回 返回顶部

船舶主机缸套冷却水系统是现代船舶动力系统不可或缺的一部分。该系统对于保护发动机、提高其运行效率以及确保船舶安全起着至关重要的作用。 一、系统构成 船舶主机缸套冷却水系统主要由以下几个部分组成: 1. 冷却水泵:驱动冷却水循环流动的关键设备。 2. 散热器:通过与外界空气进行热交换,将冷却水中的热量散发出去。 3. 水管:连接系统各部分,使冷却水能够顺畅流通。 4. 缸套水进出口:连接发动机缸套,使冷却水能够进入并流出缸套。 二、工作原理 该系统的工作原理基于水的物理特性,即比热容大和良好的导

发布人:胡言斌 发布时间:2025-04-13 06:01 阅读量:1657
幻易云高防服务器 857vps.cn 杭州服务器 温州bgp 浙江bgp温州电信 镇江电信 镇江物理机香港服务器 韩国服务器温州电信 温州服务器 温州龙港服务器 温州龙港BGP 温州BGP 温州电信温州电信服务器

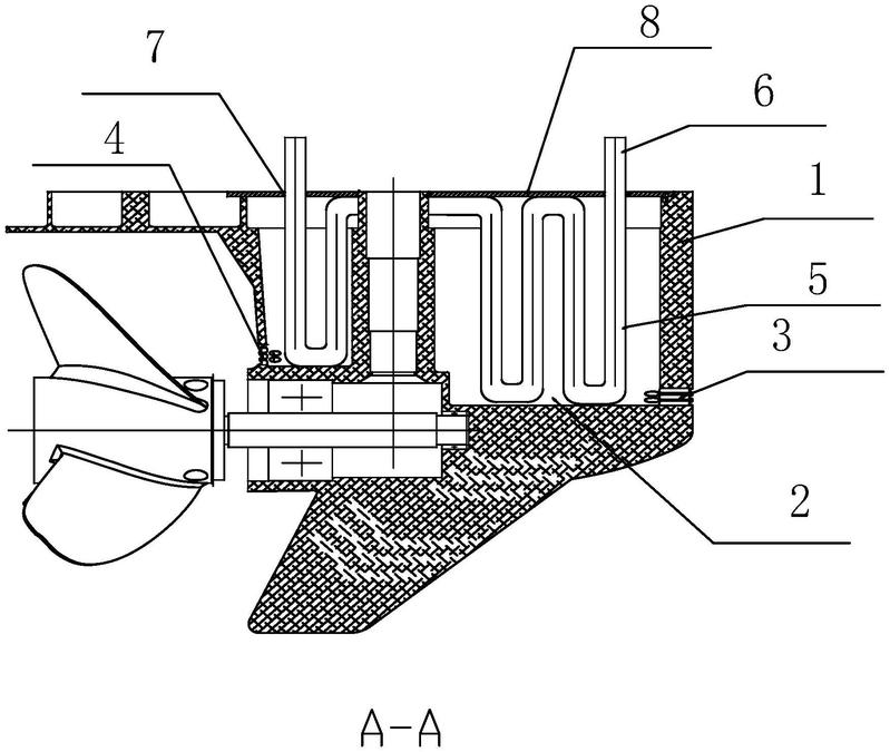
一、船舶主机缸套冷却水系统

船舶主机缸套冷却水系统

船舶主机缸套冷却水系统是现代船舶发动机中非常重要的一个系统,其作用主要是为了降低主机缸套的工作温度,保护发动机不受热损坏,提高船舶运行效率。

船舶主机缸套冷却水系统

一、系统概述

船舶主机缸套冷却水系统

船舶主机缸套冷却水系统主要由冷却水泵、散热器、水管、缸套水进出口等部分组成。当发动机工作时,冷却水在泵的驱动下循环流动,通过散热器将热量散发到空气中,从而降低水温。同时,冷却水会经过缸套水进出口进入发动机缸套内部,对缸套进行冷却。

二、系统工作原理

船舶主机缸套冷却水系统的工作原理主要基于水的比热容大和良好的导热性能。当发动机工作时,高温的发动机缸体会产生大量的热量,这些热量会通过缸套传递给冷却水。在循环泵的作用下,冷却水会不断地循环流动,经过散热器散发热量后再次回到发动机进行新一轮的冷却过程。此外,系统的其他组成部分如水阀等还会根据需要自动调节冷却水的流量和温度,确保发动机得到良好的冷却效果。

三、系统的重要性

船舶主机缸套冷却水系统的重要性不言而喻。如果发动机没有得到有效的冷却,将会导致缸套温度过高,进而引发一系列的问题,如缸套变形、发动机功率下降、燃油消耗增加等。严重时甚至会导致发动机损坏,影响船舶的正常运行。因此,保持船舶主机缸套冷却水系统的正常运行对于保障船舶的安全和运行效率至关重要。

四、系统的维护与保养

为了确保船舶主机缸套冷却水系统的正常运行,需要进行定期的维护与保养。首先,需要定期检查系统的各个部件是否完好无损,如水泵、散热器、水管等。其次,需要定期更换冷却水,防止水垢和杂质的积累。此外,还需要对系统进行清洗和检查,确保其正常运转。在维护与保养过程中,还需要注意防止因操作不当或设备故障而引发的安全事故。

以上就是关于船舶主机缸套冷却水系统的介绍。希望对大家有所帮助。

幻易云高防服务器 857vps.cn 杭州服务器 温州bgp 浙江bgp温州电信 镇江电信 镇江物理机香港服务器 韩国服务器
文章标签: 船舶电力系统 船舶电力系统是现代船舶的重要组成部分 负责为船舶的各种设备和系统提供电力它不仅关系到船舶的正常运行 还直接影响到船舶的安全和效率 一 系统概述 船舶电力系统主要由发电机 变压器 电力电缆 配电板等设备组成发电机通过柴油机或其他动力源驱动 产生电力 并通过变压器调节电压 然后通过电力电缆输送到各个用电设备配电板则负责将电力分配到各个设备和系统 二 系统工作原理 船舶电力系统的工作原理主要是通过转换和传输电能来实现发电机将机械能转换为电能 然后通过变压器将电压升高或降低 以满足不同设备和系统的需求电力电缆则负责将电力传输到各个设备和系统配电板则根据需要分配电力 确保各个设备和系统的正常运行 三 系统的重要性 船舶电力系统的重要性不言而喻它为船舶的各种设备和系统提供电力 保证船舶的正常运行同时 船舶电力系统的稳定性和可靠性直接影响到船舶的安全和效率如果电力系统出现故障 可能会导致船舶设备和系统无法正常运行 甚至可能引发安全事故 四 系统的维护与保养 为了确保船舶电力系统的正常运行 需要进行定期的维护与保养首先 需要定期检查发电机的运行状态 确保其正常产生电力其次 需要定期检查电力电缆和配电板的绝缘性能 防止因老化或损坏导致的电气故障此外 还需要对变压器进行定期的检测和维护 确保其正常运行在维护与保养过程中 还需要注意防止因操作不当或设备故障而引发的安全事故 五 未来的发展趋势 随着科技的不断发展 船舶电力系统也在不断进步未来 船舶电力系统将更加智能化 高效化和环保化通过引入先进的控制技术和材料 提高电力系统的效率和可靠性 同时减少对环境的影响此外 随着新能源技术的发展 太阳能 风能等可再生能源也将逐渐应用于船舶电力系统中 为船舶提供更加清洁 可持续的能源 以上就是关于船舶电力系统的介绍希望对大家有所帮助
目录结构
全文